Panier
Remise: 0.00 SEK
Remise: 0.00 SEK
Digital Skipper |12/06, 2024
Si votre capteur de vent ne fonctionne pas du tout et que vous ne voyez aucune donnée de vent apparent sur aucun écran, suivez ce guide. Alternativement :
Ces tests s'appliquent aux girouettes et aux capteurs Rotavecta utilisés avec :
Remarque : Ne s'applique pas aux systèmes de vent sans fil (TackTick) ni aux girouettes ST80.
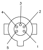
Vérifiez que les coupelles de l'anémomètre et la girouette sont intactes et que le capteur est solidement fixé en tête de mât. Les dommages causés par les oiseaux sont courants. Raymarine propose deux types de capteurs :

Coupelles de rechange pour capteur Rotavecta : D240

Vous aurez besoin d'un multimètre et d'un écran de vent qui alimente le capteur (12V). Testez uniquement lorsque les données de vent ne fonctionnent pas. Suivez les étapes :
Tension statique = défaut de câble ou de capteur. Vérifiez le connecteur de tête de mât pour l'humidité ou la corrosion.

À 0V : défaut d'affichage. À tension élevée statique : défaut de câble ou de capteur.