Panier
Remise: 0.00 EUR
Remise: 0.00 EUR
Digital Skipper |11/12, 2024
Remplacer un MFD C-Series Classic par un MFD AXIOM offre une compatibilité améliorée et des fonctionnalités plus modernes. Des plaques d'adaptation et de nouveaux câbles d'alimentation sont nécessaires, et les connexions réseau doivent être mises à jour. Dans cet article de blog, nous clarifions les concepts et passons en revue la transition étape par étape.
Raymarine propose des plaques d'adaptation pour faciliter l'installation d'un MFD Axiom à l'emplacement du volant précédemment occupé par un autre MFD Raymarine.

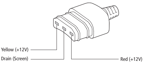
Le câble d'alimentation actuel doit être remplacé par le câble fourni avec le MFD AXIOM.

Les MFD C-Series Classic n'étaient pas conçus pour partager la cartographie, les images radar, les images de sondeur, la météo satellite ou le contrôle radio satellite avec d'autres MFD (y compris d'autres MFD C-Series Classic).
Contrairement à la série C-Classic, les modèles Axiom peuvent partager des informations provenant du radar, de la cartographie, du sondeur, des caméras IP, des waypoints, des routes, des traces, etc. Cela se fait via une interface Ethernet. Si plus d'un produit Raymarine avec une interface Ethernet/RayNet (c'est-à-dire des modules de sondeur CPxxx, des radômes Quantum / Digital / HD Digital / SuperHD numériques et des scanners radar à réseau ouvert, des caméras thermiques, CAM200IP, etc.) est installé à bord, ces appareils doivent être connectés à un réseau Ethernet commun pour communiquer pleinement entre eux. Sinon, les informations ne peuvent pas être partagées entre les MFD du système.
Si le ou les MFD n'ont pas suffisamment de prises réseau Ethernet pour connecter tous les produits Raymarine avec une interface réseau Ethernet, un ou plusieurs commutateurs réseau RayNet RNS-5 ou RNS-8 doivent être installés pour prendre en charge la connexion d'appareils Ethernet supplémentaires au MFD.

SeaTalk2 est un réseau de communication similaire à SeaTalk ng (NMEA2000) qui n'est plus compatible avec les appareils utilisant les SeaTalk ng (NMEA2000) modernes. Le MFD C-Classic n'était compatible qu'avec certains produits via ce connecteur, nous ne recommandons donc pas de connecter le C-Classic à un réseau SeaTalk ng (NMEA2000) existant.

Seatalk est un réseau de communication propriétaire utilisé uniquement dans les produits Raymarine. Cliquez ici pour consulter une FAQ sur la façon de connecter des produits avec une interface SeaTalk à un réseau dorsal SeaTalk ng (NMEA2000) moderne, auquel le MFD Axiom Data Master sera également connecté. Des informations sur le convertisseur SeaTalk vers SeaTalk ng sont disponibles ici.

Les câbles NMEA 0183 de tout appareil NMEA 0183 actuellement connecté au câble NMEA du MFD C-Series Classic doivent être déconnectés de ce câble et raccordés aux câbles correspondants du câble d'alimentation/NMEA 0183/entrée vidéo de l'Axiom. Les MFD des séries Axiom Pro et Axiom XL disposent de connexions NMEA 0183.

Les MFD des séries Axiom Pro et Axiom XL disposent de connexions NMEA 0183. Voir ci-dessous pour plus d'informations.

Les MFD des séries AXIOM, AXIOM+ et les nouvelles séries AXIOM 2 PRO et Axiom 2 XL n'ont pas de NMEA0183 intégré, donc pour les connecter à vos anciens appareils, vous avez besoin d'un convertisseur DeviceNet vers NMEA 0183 - A80721.

Les modules de sondeur externes DSM250 / DSM30 / DSM300 conçus pour fonctionner avec les MFD C-Series Classic ne sont pas compatibles avec les MFD des séries Axiom / Axiom 2. Vous pouvez cependant remplacer votre module de sondeur par un nouveau CP370 compatible avec n'importe quel transducteur DSM30/300. Gardez à l'esprit qu'en raison de l'âge des transducteurs (s'ils n'ont pas été remplacés ces dernières années), vous pourriez rencontrer une dégradation des performances. Pour cette raison, nous vous recommandons également de remplacer le transducteur. Alternativement, vous pouvez remplacer le transducteur et le module de sondeur par des modèles plus modernes.
Les radars conçus pour être utilisés avec les MFD C-Series Classic ne sont PAS compatibles avec les MFD des séries Axiom / Axiom 2. Vous pouvez trouver plus d'informations sur les radars marins modernes compatibles avec les MFD des séries Axiom / Axiom 2 en suivant ce lien.

Il n'y avait pas d'alarme externe pour les MFD de la série C-Classic. Le A80614 - SeaTalk ng Auxiliary Alarm Buzzer peut être utilisé pour déclencher à distance des alarmes pour les MFD des séries Axiom / Axiom 2 exécutant les dernières mises à jour logicielles de produits Raymarine disponibles. Une liste complète des alarmes prises en charge par le A80614 SeaTalk ng Auxiliary Alarm Buzzer est disponible dans les annexes A à R des instructions d'installation du SeaTalk ng Auxiliary Alarm Buzzer.

Les MFD des séries Axiom / Axiom 2 (exécutant les dernières mises à jour logicielles de produits Raymarine disponibles) qui ont été connectés via une communication Ethernet à un récepteur météo/radio satellite SiriusXM SR200 ou à un récepteur météo/radio satellite SiriusXM SR150 pour lequel le propriétaire a acheté des abonnements SiriusXM Marine Weather et/ou SiriusXM Satellite Radio prendront en charge les fonctions correspondantes de SiriusXM Satellite Weather et/ou SiriusXM Satellite Radio.
Les récepteurs météo/radio satellite SiriusXM Raymarine hérités (SR50, SR100 et SR6) ne sont PAS compatibles avec les MFD des séries Axiom / Axiom 2.
Entrée vidéo : Les unités C-Classic n'avaient pas d'entrée vidéo. Les MFD des séries Axiom & Axiom+, comme les C-Classic, n'ont pas d'entrée vidéo pour la vidéo analogique (BNC). Les Axiom Pro, Axiom 2 Pro, Axiom XL & Axiom 2 XL ont une entrée pour la vidéo analogique (BNC). Les MFD des séries Axiom, Axiom+, Axiom Pro, Axiom 2 Pro, Axiom XL & Axiom 2 XL prennent en charge l'intégration avec des caméras IP compatibles et des caméras thermiques FLIR / Raymarine compatibles avec un connecteur vidéo IP.
Sortie vidéo : Les unités C-Classic n'avaient pas de sortie vidéo. Les MFD des séries Axiom, Axiom+, Axiom Pro et Axiom 2 Pro, comme les C-Classic, n'ont pas de fonction de sortie pour les signaux vidéo, sauf si vous utilisez la fonction "affichage sans fil" pour vous connecter à un appareil Miracast certifié. Vous trouverez des détails dans les instructions d'utilisation avancées.
Les Axiom XL & Axiom 2 XL offrent une sortie HDMI pour se connecter à un téléviseur HD ou un moniteur HD afin de refléter ce qui est affiché. Pour la mise en miroir et le contrôle, vous devez utiliser la sortie HDMI et l'entrée vers un moniteur/téléviseur à écran tactile. Les résolutions d'écran prises en charge pour la sortie HDMI sont :
Les MFD de la série C-Classic n'avaient pas d'antenne GPS intégrée, il devait donc y avoir un GPS externe quelque part pour déterminer votre position.
REMARQUE : Vérifiez si vous avez un RS-120 / RS-125 qui fournit la position GPS à votre système. Si vous avez un RS125, sachez qu'il est affecté par le GPS Week Rollover et doit être retiré du système pour éviter des informations de date incorrectes.
Bien que le RS-130 ne soit pas encore affecté par le GPS Week Rollover, nous avons constaté qu'il crée des problèmes de compatibilité sur les nouveaux systèmes SeaTalk ng, nous recommandons donc également un remplacement.
La précision des antennes GPS actuelles est considérablement meilleure, nous recommandons donc généralement de retirer l'ancienne antenne GPS du système. Si votre Axiom est installé à l'extérieur avec une vue dégagée sur le ciel, son antenne intégrée est tout à fait suffisante. En cas d'installation sous le pont, nous recommandons d'installer une antenne GPS externe telle que le RayStar 150.
La conversion de vos anciennes données est possible. Divers outils logiciels sont disponibles en ligne qui peuvent convertir votre format de fichier .FSH au format .GPX moderne, compatible avec les MFD des séries Axiom / Axiom 2. Nous avons appris que le logiciel gratuit "GPS Utility" fonctionne bien pour convertir les formats de fichiers. Raymarine n'a effectué aucun test officiel avec ce logiciel tiers et ne le prend pas en charge, mais si vous souhaitez l'explorer vous-même, leur site Web est ici : https://www.gpsu.co.uk/
Les MFD C-Classic utilisent la cartographie Navionics enregistrée sur des cartes mémoire Compact Flash qui ne peuvent pas être utilisées avec les MFD Axiom. La cartographie sur les MFD des séries Axiom / Axiom 2 nécessite une carte microSD. Si vous souhaitez utiliser la cartographie Raymarine, visitez notre CHART STORE pour plus d'informations. Les MFD des séries Axiom / Axiom 2 sont également compatibles avec la cartographie Navionics ou C-MAP.
Bien que le remplacement de cet équipement soit tout à fait à la portée de ceux qui sont familiers avec l'installation d'électronique marine, un certain raccordement et une recherche de câbles seront nécessaires. Si cela ne correspond pas à votre zone de confort ou à vos compétences, cliquez ici pour trouver un installateur Raymarine certifié dans votre région. REMARQUE : Gardez également à l'esprit que lorsqu'un revendeur Raymarine agréé gère l'installation de votre système, vous bénéficiez également d'une garantie à bord.